CloudCone的黑五大促已经开始了(详情见《CloudCone:#黑五# 美国VPS仅需$10.59/年,美国云服务器$25/年,美国独立服务器198美元/月》),本次活动相比近2年以来的往期活动,最大的看点应该是SC2终于再次参加活动了,并且,价格更低,配置更高。要知道VPSTOP2年前购买的SC2云服务器,1核1G、20G SSD、3TB月流量的配置都需要32刀每年,本次黑五活动最低配置3核2G内存、60G SSD、4TB月流量也仅需要$25/年,价格降低+配置提升,这性价比直接翻了好几番。

cloudcone是quadcone(成立于2012年)旗下的品牌,成立于2017年,于2024年2月被Edge Centres集团收购(与Multacom机房同母公司),被收购后,目前与quadranet、multacom机房等属于同一家母公司。提供基于KVM虚拟化的VPS产品以及独立服务器租用,数据中心在洛杉矶multacom机房(MC机房),产品支持按小时计费,可以随时自行删除机器,余额退回账户,支持支付宝等付款方式,价格便宜。国外售卖MC机房VPS的商家不多,支持按小时计费的MC机房VPS的就更少了。
官方网站:https://www.cloudcone.com
SC2云服务器算是CloudCone定位于高端系列的产品,提供免费备份、快照、免费防火墙、一键安装应用等等功能,支持弹性升级。那么,机器究竟怎么样呢,前年VPSTOP曾经测评过(有兴趣的朋友可以看一下《CloudCone云服务器怎么样?SC2云服务器测评》),本次活动VPSTOP再次入手了一台SC2云服务器,下面就让我们来看看吧。

站长购买的正是本次活动的3核2G最低配置,CPU为Intel Xeon E312xx,2700.00 MHz 频率,磁盘平均读写72.2 MB/s,这个磁盘性能是一般的。
FIO检测

UnixBench跑分跑了1042.5分:

UnixBench跑分
宝塔跑分看一下:

宝塔面板新增了一个性能测试应用,本次测评我们就用这个应用来检测一下,如下图:

宝塔性能测试-基本信息

宝塔性能测试-基础性能测试

宝塔性能测试-磁盘测速
我们先看看本地下载速度检测:

时间是下午15:00,下载速度达到37.6 MB/s。
晚高峰的时候再测试了一下,时间是21:50,下载有1605 KB/s:

上下行检测:

站长超级ping看一下网络延迟情况:


丢包率检测:

丢包率最高14%,尚可;
下面我再看看去程和回程的路由情况。我们先看回程:
三网回程一键检测

电信走163骨干网,联通走4837,移动走CMI。
看一下详细点的回程路由:

电信回程

联通回程

移动回程
再看看去程路由:

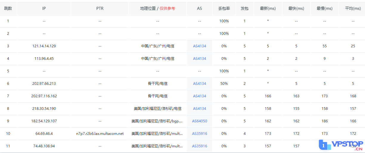
电信去程

联通去程

移动去程
最后是我们的解锁测试。

奈非解锁


美国主流平台解锁
可惜不支持支付宝
本站仅为信息分享,不提供任何产品销售及代购,所有产品请合法使用,使用和售后问题请联络响应服务商。本站由 帝国CMS 驱动!
Copyright©2022 VPSTOP All Right Reserved.
蜀ICP备08107246号-13











